[ad_1]
Another week, another Apple patent. This time, the U.S. Patent and Trademark Office granted Cupertino 38 patents, including a health-monitoring headset system(Opens in a new window).
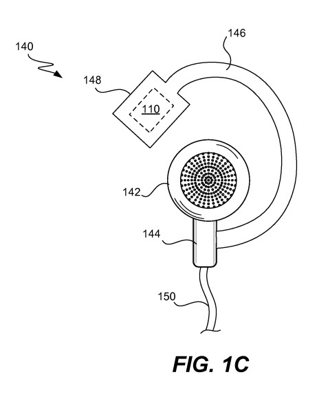
Intended for use during exercise or sports, the headset would monitor temperature, perspiration, and heart rate, as well as control the connected device, possibly through the use of head gestures.
As the patent application notes, Apple already offers the Nike+iPod(Opens in a new window), whereby runners put a sensor in their shoe and sync activity via an iPod. The newly granted patent, however, takes that monitoring to the head or ear of a user.
“Advantageously, the invention can provide monitoring capabilities within a hearing device,” the patent filing said. “Assuming the user is otherwise using the hearing device, such as to provide audio output by a portable media player, the user gains monitoring capabilities without requiring the user to wear or carry any additional article.”
Placing the “hearing device” in or near the ear—either as part of the earbud frame or the adjoining cord—would eliminate the need for a separate electronic device, like a wristband. According to Apple, the headphones could be wired or wireless; in the case of the latter, captured data would be transmitted wirelessly, as well.
Cupertino has also set its sights on hands-free controls, allowing users to change music tracks or adjust the volume by simply rotating or tilting their head one way or the other—a move that could earn you some silly looks at the gym.
In the vein of health assessment, the earbuds—already settled into the wearer’s ear—could also determine distance traveled and provide a signal, like a beep or vibration, at a predetermined distance.
Apple originally filed the patent in October 2007.
Most recently, the USPTO published an Apple patent regarding the implementation of sensors in the iPhone or iPad bezel. The organization late last month also awarded Cupertino 31 patents, which cover everything from solar-powered Macs to add-on camera lenses.
For more, check out some of the health gadgets on display at this year’s CES in the slideshow above.
[ad_2]
Source link : https://www.pcmag.com/news/apple-awarded-patent-for-health-monitoring-earbuds



